
远离“聚光灯”的钟薛高再次传来消息胜亿配资,其子公司新增一则破产审查案件。
天眼查显示,6月5日,钟茂(上海)食品科技有限公司(简称“钟茂食品”)新增破产审查案件,申请人为上海安得列郎晴食品贸易有限公司,经办法院为上海市第三中级人民法院。
信息显示,钟茂(上海)食品科技有限公司成立于2020年6月,注册资本1000万元,法定代表人王科琴,由钟薛高食品(上海)有限公司全资持股,其中钟薛高创始人林盛担任财务负责人。
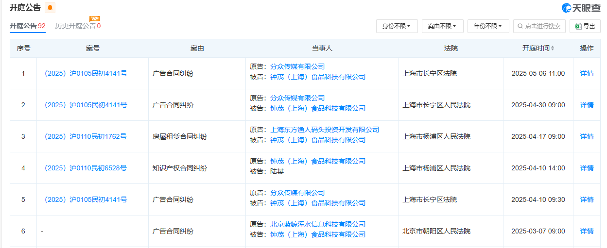
当前钟茂食品已多次成被执行人、限制高消费,被执行金额近8300万元。值得注意的是,该公司还涉及多起广告合同纠纷,原告方包括分众传媒、蓝鲸新闻等。
南财快讯记者注意到胜亿配资,去年5月林盛因直播卖红薯还债一事重回大众视野,其直播账号名称为“钟薛高老林”,头像为林盛,签名为“好好做产品,好好还债,好好在一起”。
据南财快讯此前报道,林盛“卖红薯还债”的说法最早可以追溯到去年4月。新浪财经CEO邓庆旭当月发微博称,钟薛高创始人林盛被“限高”后,坐了一晚上绿皮火车到北京。林盛对他说,“就是卖红薯也要把债还上”。
随后胜亿配资,“钟薛高创始人称卖红薯也要把债还上”的话题,登上了微博热搜。林盛也发微博称:“没有想到,我的一句朋友间承诺登上了微博热搜。虽然钟薛高目前面临诸多困难,但我们努力改变负起责任的决心没有改变。励精图治,肩负起对员工、伙伴和社会的责任!”
此后,林盛又在不同场合提到要“卖红薯还债”。林盛还做客吴晓波频道时表示,现在是自己最困难的时候。律师曾建议换掉公司法定代表人,但他拒绝了。他强调,一定会认这个账,不管之后是卖雪糕还是卖红薯,都会想尽办法去还员工和供应商的欠款。
南财快讯记者检索发现,钟薛高天猫旗舰店仍在营业中,不过目前仅有三款不同的产品,价格分别为229元、153元、152元。另外,同一产品下的不同规格多处于缺货状态,客服在接受记者采访时称,“能下单就能发货,无法下单就是没货了,还要等十几天。”
该旗舰店的经营者为上海钟远食品有限公司(简称“上海钟远”),成立于2022年3月,注册资本100万元,法定代表人为周兵,由钟薛高食品(上海)有限公司全资持股。天眼查显示,上海钟远基本不涉及法律诉讼、经营风险,不过钟薛高食品(上海)有限公司持有的股权处于冻结状态。
公开资料显示,钟薛高2018年于天猫平台起家,陆续推出了多款单价50元以上的雪糕产品,最高的雪糕单价可达66元,并因“雪糕刺客”称号多次冲上热搜。创始人林盛则出身广告咨询行业,曾操盘过马迭尔、中街1946等雪糕产品的营销。
海量资讯、精准解读,尽在新浪财经APP
责任编辑:刘万里 SF014胜亿配资
广盛网提示:文章来自网络,不代表本站观点。